101 - Automatischer Schnellentlüfter ORIGINAL mit Absperrventil
Automatischer Schnellentlüfter in Ganzmetallausführung aus Messing verchromt.
Dieser Entlüfter ist mit einer Sicherheitskappe mit Quellstoppscheiben ausgestattet.
Die darin liegenden Dichtungen quellen beim Wasseraustritt auf und verhindern dabei eine Leckage.
Nenndruck 12 bar
Arbeitsdruck 4 bar
Max._Temperatur 110°C Wasser (ohne Dampf)
Verfügbar auch für Solaranlagen
Gehäuse aus Messing, verchromt
Hygroskopische Sicherheitskappe mit Quellstoppscheiben
Medium: Wasser und Wasserglykolgemisch (30%)
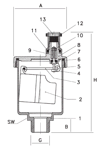
![]() |
1 Cu Zn 40 Pb 2 - DIN EN 12165 |
| 2 Polypropylen | |
| 3 Edelstahl |
|
| 4 Cu Zn 39 Pb 3 - DIN EN 12164 | |
| 5 Edelstahl |
|
| 6 NBR 60 Shore |
|
| 7 NBR 70 Shore |
|
| 8 Cu Zn 40 Pb 2 - DIN EN 12165 |
|
| 9 Edelstahl |
|
| 10 Polyacetal |
|
| 11 NBR 70 Shore | |
| 12 Prespan | |
| 13 Cu Zn 39 Pb 3 - DIN EN 12164 |
|
Masse in mm
|
Absperrventil zu ORIGINAL Artikel 111C
Messing, verchromt
Einsatz aus Messing für 3/8”
Einsatz aus Kunststoff für 3/8” x 1/2” Mit O-Ring am Entlüfteranschluss
| 111C | dimension |
|---|---|
| 11153C | 3/8“ x 3/8” |
| 11155C | 3/8“ x 1/2“ |


