• Home
  • Products
  • Entlüften
  • 121 - Automatischer Schnellentlüfter MINIVAL mit hoher Entlüftungskapazität, mit Absperrventil

121 - Automatischer Schnellentlüfter MINIVAL mit hoher Entlüftungskapazität, mit Absperrventil

eac     

Automatischer Schnellentlüfter aus Messing gelb.
Universell einsetzbar. Dieser Entlüfter hat bei den üblichen Betriebsdrücken eine sehr hohe Entlüftungskapazität, die derjenigen der meisten Produkte am Markt weit überschreitet.

Nenndruck 12 bar
Arbeitsdruck 6 bar
Max._Temperatur 110°C Wasser (ohne Dampf)
Verfügbar auch für Solaranlagen
Gehäuse aus Messing, gelb
Vernickelte Ausführung auf Anfrage
Version mit Käppchen aus Messing auf Anfrage
Medium: Wasser und Wasserglykolgemisch (30%)

 

 

 

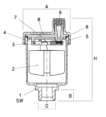
121 1 Cu Zn 40 Pb 2 - DIN EN 12165
2  Polypropylen
3 Norylharz
4 Edelstahl AISI 302
5 NBR 50 Shore
6 NBR 70 Shore
7 Polyacetal
8 Cu Zn 40 Pb 2 - DIN EN 12165
9 Polypropylen

 

 

Masse in mm

121GBSWHA
12101 1/8” 10,5 23 83 47
12102 1/4” 10,5 23 83 47
12103 3/8” 10,5 23 83 47
12104 1/2” 10,5 27 83 47


Absperrventil zu MINIVAL Artikel 111

Messing, gelb
Einsatz aus Kunststoff für 3/8”, 3/8” x 1/2” und 3/8” x 3/4” Einsatz aus Messing für 1/2” x 1/2”
Mit O-Ring am Entlüfteranschluss ausser für 11164

111DIMENSION
11153 3/8“ x 3/8”
11155 3/8“ x 1/2“
11164 1/2“ x 1/2“
11166 3/8“ x 3/4”

en gb    de de